昊星膠體磨JTM(代號:JM;JP)系列公司高科技產品,簡稱:膠體磨英文學名COLLOID MILL; COLLOIDAL MILL 中文拼音JIAOTIMO(研磨機GRINDIND MACHINE )又名:豎式轉錐磨機、豎式轉圓錐磨機、斜錐磨機、濕法超微粒粉碎機,濕式粉碎機、膠磨機、研磨泵(管線式研磨泵)、磨漿機、高剪切乳化研磨機、多功能研磨機、白炭黑膠磨機、全封閉式膠體磨高速研磨機、瀝青膠體泵、研磨泵、混料泵、高剪切多功能研磨機組。
昊星膠體磨分類別為管線式膠體磨、鈦白粉膠體磨、炭黑膠磨機、全封閉式膠體磨、立式膠體磨、分體式膠體磨、臥式膠體磨、立臥式膠體磨、不銹鋼膠體磨、實驗室膠體磨、中試膠體磨、工業膠體磨、特大型膠體磨、微小型膠體磨、全自動膠體磨等新型產品, 自從2002年以來獲得新技術、軟著和獲得政府科技獎勵40多項, 由此我公司膠體磨制造歷史悠久、工藝精湛、技術雄厚、品質性能,新型實用,外形新穎,環保節能,價格優惠,體積小,效益高等特點。讓你的系統更可靠,更衛生,更靜,更省電。深得海內外客商的青睞。
尤其,近年以來經在本公司技術部、生產部和高校外企等協作下通過高科技創新,難題攻關,對傳統膠體磨進行大幅度改造取得了突破性成果。連續獲得多坎專利,通過ISO9001-2000國際質量管理體系認證、產品執行企業標準Q/WHX01 ;Q/WHX 02和國家標準GB/T14466-2005。
HS-JTM系列膠體磨可根據用戶的特殊要求提供多功能的可空轉式運作,機封與介質絕無接觸,機械密封使用壽更長的新一代衛生級可空轉式膠體磨。以及研制了另一種封閉式膠體磨其全封閉式內循環回流系統,使物料在密閉的環境中進行多功能研磨、乳化、均質、粉碎、分散、攪拌、混合的加工。該機器封閉性能良好,防止揮發性、易燃性、易爆性、高衛生及可在真空條件要求下工作等特點,特別適用于:香精、香料、醫藥、藥物、石油、化工、精細化工、生物制劑、植物蛋白、動物蛋白、啤酒、食品、鈦業、釉彩、防水阻燃材料、炭黑、高校,科研實驗室等領域行業使用。從而達到防爆防燃、防止加工物料有效成份的揮發或刺激工作環境和確保物料的品質純正。可以使加工的物料有效得到多循環的處理而達到理想的效果,封閉式膠體磨還配備了多項功能裝置亦可使調節盤靈活地調節機器的間距乳化細度和預防膨脹、平衡容器內部的壓力、機器可以缺料空轉等多種功能。因此,其特點全封閉性能好,防火防爆,防泄漏、可空轉、操作方便,衛生環保,節能高效和使用壽命長,是一種新式的濕式粉碎研磨機械設備。
HS-JTM系列膠體磨可干濕兩用粉碎機器,主要以多功能濕式處理流體超微粒粉碎、研磨、乳化、分散、均質、攪拌、混合等功能為主導產品,可代替并優于石磨,砂磨機、球磨機、乳勻機、剪切分散泵,均質乳化機、三輥機、組織搗碎機等工作效率。多功能膠體磨已形成六大系列“立式膠體磨系列、分體式膠體磨系列、臥式膠體磨系列、管線式膠體磨系列、全封閉式膠體磨系列、可空轉干濕兩用膠體磨系列”一百多種型號規格的膠體磨產品,給廣大用戶選購設備提供更大空間和余地,使設備資源得到更科學性、專業性和節能性的利用,成功應用于菠蘿、蘆薈、仙人掌等果汁、餅餡、涂料、生化、制藥、啤酒、動植蛋白深加工、淀粉、膠粘劑、聚氨酯、陶瓷、瀝青及新材料生產和研究等領域。特別是我們最新推出的小型膠體磨(實驗室專用的實驗設備)、多功能研磨機(鈦白粉膠體磨、白炭黑打漿泵、管道磨、分體式研磨泵等新技術產品)特大膠體磨、封閉式膠體磨、可空轉膠體磨系列等產品,已被全國各地近千家企業及高等院校重點實驗室、科研所的采用和實用性推廣,并得到廣大專家的好評。比如采購設備單位:清華科技園、山東大學、山東農業大學、河北省農業大學、上海醫科大學、首都醫科大學、南京醫科大學、武漢化工學院、武漢理工大學、北京友誼醫院、蘇州非金屬礦研究院、新疆中基天然純化高新技術究所、天津化工研究設計院、黑龍江省化工研究院、南京藍本科研所、海南省藥物研究所、廣東省造紙研究所、重慶鈺鑫集團、廣州立白集團、廈門古龍集團、徐州恩華藥業集團、昆明中友集團、康恩貝集團、聯盛集團貴州藥業、晉新雙鶴藥業、集成藥業、信誼藥業、北京雙吉藥業、上海雙基藥業、河南新誼藥業股份有限公司、三九醫藥股份有限公司、深圳金剛源新材料科技發展公司、北海果香園果汁有限公司、江蘇三木蘆薈有限公司、福清新大澤螺旋藻有限公司、華迪集團、奈米科技桃園農藥、富農化工公司(馬來西亞)、瑞典利樂拉代集團、香港沐林食品工業集團、杰克姆工業公司(越南)、艾墨特公司(美國)、上海哈勃公司、慧達工貿股份有限公司(臺灣)、江蘇力保建材工業有限公司、上海慧潤膠粘劑有限公司、國民(廣東)淀粉工業公司、福建三山淀粉有限公司、上海華寶孔雀香精香料有限公司、重慶亞原生物技術公司、菲律賓國際制藥公司、韓國宇星株式會社、韓國莊起產業、GFP Limited(坦桑尼亞)、瑞馳醫藥(香港、韓國)、一九單位07研究所、沈陽強力陶瓷有限公司、沈陽市合家樂陶瓷有限公司、發達陶瓷有限公司、東佳集團、南京鈦白化工、興茂鈦業、豪普鈦業、攀鋼集團重慶鈦業股份有限公司、湖北興盛陶瓷有限公司以及高安、淄博、景德鎮及閩清縣等地陶業,鈦業等用戶已遍布全球,產品暢銷國內外市場。
一、使用范圍
食品工業:蘆薈,椰子原汁、菠蘿漿、乳化豬皮、雞骨泥、辣椒醬、芝麻、果茶、冰淇淋、月餅餡(餅餡)、奶油、果醬、果汁、大豆、豆醬、豆沙、花生奶、蛋白奶、豆奶、乳制品,麥乳精、香精、調味品、啤酒、植物蛋白、動物蛋白及各種食品飲料等。
化學工業:油漆、顏料、染料、涂料、潤滑油、合成脂、潤滑脂、柴油、石油催化劑、乳化瀝青、膠粘劑、洗滌劑、塑料、萬能膠、玻璃鋼、合成革、皮革等乳化。
日用化工:牙膏、洗滌劑、洗發精、鞋油、高級化妝品、沐浴精、肥皂及香脂等。
醫藥工業:各型糖漿、營養液、中成藥、膏狀藥劑、生物制品、魚肝油、花粉、蜂皇漿、疫苗、各種藥膏、各種口服液、針劑及靜滴液等。
建筑工業:各種涂料。包括內外墻涂料、防腐防水涂料、壁紙涂層、布業涂層、冷瓷涂料、多彩涂料、陶瓷釉料及噴涂等。
其它工業:塑料工業、紡織工業、造紙工業、鈦白工業、阻燃材料、制膠、炭黑、煤炭浮選劑、稀土、納米材料、消化劑、發泡劑、催化劑、新材料及軍工等新材料領域。
二、工作原理
HS-JM系列膠體磨的基本工作原理是剪切、研磨及高速攪拌作用力,粉碎研磨依靠磨盤齒形斜面的相對運動而成,其中一個高速旋轉,另一個靜止使物料通過齒形斜面之間的物料受到極大的高速剪切力和摩擦力,同時又在高頻震動和高速旋渦等復雜力的作用下使物料的高速擠碾、高剪切打漿、攪拌、包膜、研磨、乳化、粉碎、混合、分散和均質,從而得到精細超微粒粉碎的較高效益。

昊星膠體磨工作原理
三、設備構造
HS-JM 系列膠體磨系多項專利產品:具有設計緊湊、實用新型,外形美觀、密封良好、性能穩定、操作方便、裝修簡單、經久耐用、適應范圍廣、生產效益高等特點、是處理精Υ細物料最理想的加工設備。
HS-JM 系列膠體磨產品除電機及部分零部件外,凡與物料相接觸的零部件全部采用高強度不銹鋼制成,尤其,關健的動、靜磨盤進行強化處理因此,具有良好的耐腐性和耐磨性,使所加工的物料無污染衛生純潔。也可按用戶特殊要求可以另行定制。
HS-JP大型膠體研磨泵型三級、四級錯齒結構的研磨轉子(特殊可提升為五-九級錯齒結構的研磨轉子,需定制),配合精密的定子腔。可以達到更好的高剪切、振頻、分散、混合、破碎、乳化、均質、濕磨以多功能處理和泵的輸送一體化。
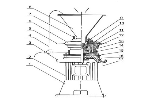
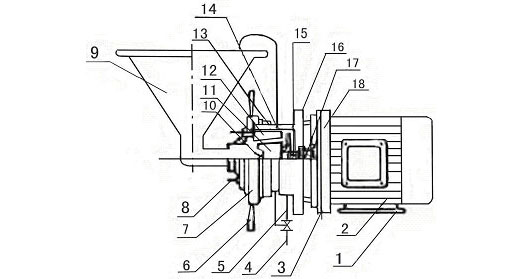
昊星科技http://www.86999999.com 膠體磨其主要構造由磨頭部件、底座傳動部;專用電機三部分組成。其中機器核心部分的動磨盤與靜磨盤、機械密封件組合部位系是本機的最關健部分。所以,根據被處理的物料性質不同選型必須有所區別。但材質均由不銹鋼或特殊材料制造而成。電機根據型號不同需要作特殊設計,在電機凸緣端加裝擋水盤,以防滲漏。小型膠體磨結構見圖一、立式膠體磨(又稱連體式膠體磨)圖二,分體式膠體磨(傍連體式膠體磨)結構圖三,臥式膠體磨結構圖四、管線式膠體磨(管線式研磨泵)圖五、封閉式膠體磨(全封閉式結構)圖六。

小型膠體磨系列(實驗室專用機)結構 圖一
1.底座 2.電動機 3.殼體 4.主軸 5.機械密封組件 6.手柄 7.定位螺絲8.加料斗
9.進料通道 10.旋葉刀 11.調節盤 12.靜磨盤 13.動磨盤 14.循環管

(5)立式膠體磨系列結構 圖二
1.底座 2.電動機 3.端蓋 4.循環管 5.手柄 6.調節盤 7.冷卻水管接頭
8.加料斗 9.旋葉刀(動磨盤緊固螺紋) 10.動磨盤 11.定位螺釘 12.靜磨盤
13.冷卻通道 14.機械密封組件 15.殼體 16.主軸軸承 17.排漏管接頭

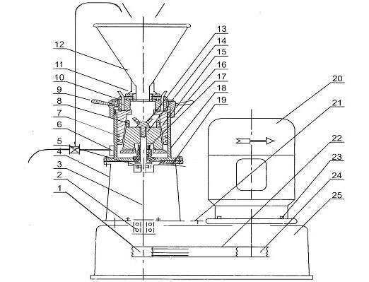
分體式膠體磨系列結構 圖三
1.從動帶輪 2.軸承 3.主軸 4.機座 5.軸承 6.出料口 7. O型密封圈 8.進料刮板
9.手柄10.壓蓋 11.活接 12.加料斗 13.旋葉刀 14.動磨盤 15.靜磨盤 16.調節盤
17.機械密封組件 18.殼體 19.冷卻水進出口及排泄孔20. 電動機 21.調節螺釘
22.三角皮帶23.電動機座 24.主動帶輪25.底座

臥式膠體磨-整機型 系列結構 圖四
1.底座 2.電動機 3.排漏口 4.出料口 5.循環管 6.手柄 7.調節盤 8.冷卻接頭
9.加料斗 10.旋葉刀 11.動磨盤 12.靜磨盤 13.刻度 14.O型圈 15.機械密封
16.殼體 17.滾球軸承 18.端蓋

(曾獲得知識產權局ZL2004200541273等4項)
封閉式膠體磨系列結構 圖六
1. 進料口 2.循環管 3.冷卻水管接頭 4.旋葉刀 5.手柄 6.靜磨盤 7. O型圈
8。出料口9.動磨盤10.主體機架 11.底座 12.端蓋 13.殼體 14.主軸
15.料斗16.封閉蓋 17.視鏡
四、安裝方式
昊星JM 系列膠體磨運作平穩、震動輕微,可根據生產使用需要置于水平線平整地面上,或安裝在水泥基礎上。為了方便用戶的生產使用,各型膠體磨的底層座均設有安裝孔,立式膠體磨安裝尺寸見圖七、臥式膠體磨-單機型(臥式膠體磨-整機型、管線式研磨泵,另說明)安裝尺寸見圖八。機器連接方式:采用漏斗(加料斗)式或管道連接式。

立式膠體磨系列安裝 圖七

臥式膠體磨(單機型)系列安裝 圖八
五、安裝操作
1、聯接好進料斗或進料管及出料口,再接上出料循環管,然后接通冷卻水(JM-L50a、b無冷水管系統)和排漏管。
2、安裝好電力啟動裝置,(若有條件的用戶可配上電流表及指示燈或變頻器等)接好電源后,特別要注意開機運轉方向,判別電機是否正常方向旋轉,或從進料管徑處看方向是否同膠體磨上‘紅色警示標志'旋轉方向箭頭相一致順轉。絕對禁止空轉(腔內缺料液)和反轉。
3、在膠體磨出廠時,設備出料口方塊上已裝有調好的限位螺絲,磨盤間隙處于最佳加工細度間距。調節磨盤間隙,先將出料口方塊上限位螺絲松下,在不開機的情況下將調節盤(刻度盤)上兩手柄‘逆時針'擰松,然后‘順時針'轉動調節盤,當轉動調節盤感到有少許阻力時馬上停止,此時調節盤上刻度對準體上指針的讀數確定了動、靜磨盤間隙為‘0'。但刻度盤圈上的讀數數字要記住,這個數不是0度而磨盤的間為‘0',再反轉(逆時針)調節盤幾圈使動、靜磨盤之間隙略大于0。調節盤的刻度每進退一大格為0.01mm 。一般在滿足加工物料細度要求的情況下,盡可能使磨盤間隙保持一定間距,同時把手柄將調節盤鎖緊,然后將進料口方塊上限位螺絲調好,確保機器正常運作。
4、接通冷卻水后,注入1~2Kg左右的液料或其它與加工物料相關液體,并將濕料保持在經過循環管回流狀態。然后才可啟動膠體磨,待運轉正常后立即投料入膠體磨中加工生產,而可空轉式膠體磨亦可免此項。
5、關機之前,進料斗內加入或腔內留有適量水液或其它與加工物料相關液體,并將濕料保持在經過循環管回流狀態。開機時也要保持料斗內有一定量的濕料可回流狀態并馬上投入物料,否則會損傷硬質組合密封件甚至造成泄漏燒毀電機。
6、加工物料注意電機負荷,發現過載要減少投料。
7、膠體磨在動作中,絕不許關閉出料閥門,以免磨腔內壓力過高而引起泄漏。
8、膠體磨屬高精密機械,磨盤間隙極少,動轉速度快。操作人員應嚴守崗位,按規章作業,發現故障及時停機,排除故障后再生產。
9、膠體磨使用后,應徹底消毒、清洗機體內部,勿使物料殘留在體內,以免硬質機械粘結而損壞機器。
六、維護修理
1、昊星膠體磨為高精密機械,線速高達20m/秒,又磨盤間隙極小。檢修后裝回必須用百分表校正殼體與主軸的同軸度誤差≤0.05mm。
2、修理機器時,在拆開、裝回調整過程中,絕不許用鐵鍾直接敲擊。應用木錘或墊上木塊輕輕敲擊,以免損壞零部件。
3、本機密封件:分為靜、動密封。靜密封采用O型橡膠圈、動密封采用硬質機械組合式密封。發現硬質密封面有劃傷應立即在平板玻璃或平板鑄件上進行研磨修復,研磨料為≥200#碳化硅研磨膏為佳。若密封件破損或裂痕嚴重請立即更換。
4、在使用過程中應根據加工物料情況,酌情進行定期維護。
5、有關電機的維護使用,請參照電機使用說明書。
6、隨機備件絕大部都為國標、部局標準件,全國各地均購到。